【产品教程】-基础 2025.06.11 XOS综合网关-终端管理-终端记录
背景说明:终端记录功能可以实时记录对终端电视系统的所有关键操作和系统交互。包括但不限于:终端的续费、销户等开户记录、用户操作(安装/卸载软件、系统设置更改、重启操作等),后台系统通知的发送与接收记录,系统更新活动,异常事件记录,酒店服务记录。
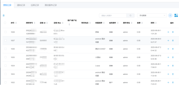
一、首页--AI智慧屏--终端记录--授权记录
1,显示终端记录 如续费/销户之类的开户记录(可打印)。

2,打印记录。

二,首页--AI智慧屏--终端记录--通知记录
记录终端的弹窗记录/紧急通知记录( 在终端授权那边下发的任务 )

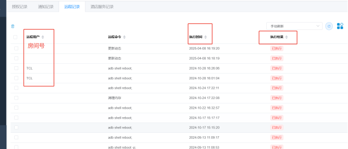
三,首页--AI智慧屏--终端记录--远程记录
记录终端的app安装、删除、重启、adb命令操作(如安装,删除,释放内存等等)

三,首页--AI智慧屏--终端记录--酒店服务记录
记录酒店对房间终端的服务 如退房跟呼叫记录(是在桌面的一个模块,若想酒店系统提醒,需要对接pms业务)
