官网
官网
游客
注册
登录
融合路由
融合路由硬件规格及安装说明
ZH-AX3000J硬件规格及安装说明
ZH-FTTN300硬件规格及安装说明
ZH-AC100(Ultra)硬件规格及安装说明
ZH-AC100硬件规格及安装说明
ZH-AC100(Ultra) MINI硬件规格及安装说明
ZH-AC200R硬件规格及安装说明
ZH-AC200R(LI)硬件规格及安装说明
ZH-AC300R硬件规格及安装说明
ZH-AC300R(Ultra)硬件规格及安装教程
ZH-AC200S硬件规格及安装说明
ZH-AC1000硬件规格及安装说明
ZH-AC500(Ultra)硬件规格及安装说明
ZH-AC2000(Ultra)硬件规格及安装说明
融合路由软件调试说明
主机监控
主机监控
接口模块
接口设置-LAN&WAN切换控制(X86架构)
接口设置-LAN&WAN切换控制(ARM架构)
接口设置-端口聚合
外线设置-WAN口设置
外线设置-WAN设置与一线多拨
外线设置-WAN扩展接口VLAN
内网配置-LAN口配置和DHCP配置
内网设置-基于LAN口创建VLAN虚接口
内网设置-基于LAN口创建子接口
策略路由
路由设置-多线负载
路由设置-线路侦测(ping网关检测)
路由设置-策略路由
路由设置-线路侦测(单外线指定网关和源端服务器)
状态管理
状态管理-系统状态-设备概览
状态管理-系统状态-网络状态
状态管理-系统状态-登录记录
状态管理-系统状态-系统日志
无线管理
无线管理-网络模板
无线管理-网络重启
无线管理-AP+升级
无线管理-直播代播
无线管理-直播代播2
无线管理-直播代播输出地址导入云屏
TR069/ACS
TR069/ACS-设备管理
TR069-分组管理
TR069/ACS-配置模板
TR069/ACS-业务模板
TR069/ACS-定时任务
TR069/ACS-日志
TR069/ACS-维护
TR069/ACS-维护-ONU升级
TR069/ACS-授权状态
SD-WAN
系统管理
系统管理-访问设置
访问设置-修改密码
访问设置-创建子账号
系统管理-路由名称
系统管理-配置管理
系统管理-配置管理-恢复出厂
系统管理-配置管理-备份、还原
系统管理-系统重启(定时重启)
系统管理-系统升级
系统管理-系统升级-应用特征库更新
系统管理-系统时间
系统管理-应用授权
高级应用
高级应用-端口映射(标准端口映射)
行为管控
行为管控-上网行为管理
行为管控-HTTP管控(根据系统网站库进行管控)
行为管控-HTTP管控(根据自定义网站进行管控)
行为管控-DNS管控(域名管控)
行为管控-DNS管控(域名重定向)
行为管控-QQ管控
连接数控制
连接数控制-整机连接数容量控制
连接数控制-单机连接数控制
流量控制
流量控制-带宽限制
流量控制-带宽保证
流量控制-控制例外
访问控制
访问控制-访问控制黑名单模式
访问控制-访问控制白名单模式
访问控制-MAC过滤
访问控制-pingWAN控制
语音管理
基础模块-基础设置
语音模块-语音管理
内线模块-分机设置(单个分机的增删改查)
内线模块-分机设置(批量导入分机号码)
内线模块-分机设置(批量设置分机共有参数)
外线模块-外线设置
外线模块-外线呼入到分机
外线模块-外线呼入到呼叫中心
外线模块-外线呼入到IVR
外线模块-分机单线出局
外线模块-外线组设置
外线模块-分机外线组出局
语音模块-呼叫中心
语音模块-广播设置(配置广播)
语音模块-唤醒服务
语音模块-叫醒服务
语音模块-通话CDR
高级设置-强接功能
高级设置-盲转功能
高级设置-询问转功能
高级设置-呼叫前转(内线)
高级设置-呼叫前转(外线)
高级设置-本机号码播报
语音模块-IVR导航
内线模块-部署内线分机(实现内线互通)
认证管理
认证管理-免认证
认证管理-真实短信认证
认证管理-视频播放认证
认证管理-白名单身份认证
认证管理-授权码认证(随机码认证)
认证管理-三层漫游跨域认证
认证管理-用户管理
Radius设置
PPPOE SERVER
PPPOE SERVER-用户管理
本文档发布于深圳智慧光迅信息技术有限公司文档系统
-
+
首页
融合路由软件调试说明
PPPOE SERVER
PPPOE SERVER
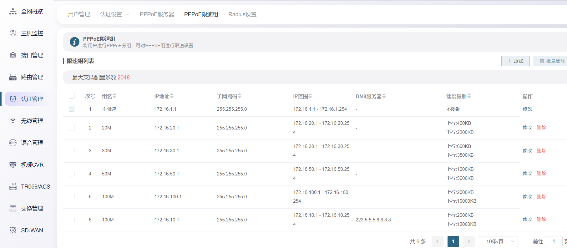
【产品教程】2026.03.27融合路由-PPPOE SERVER 操作背景:该功能在小区场景使用得比较多,以咱们的融合路由作为PPPOE服务器,下面的终端通过融合路由设置和提供的账号密码,通过PPPOE拨号接入的方式拨号上网 路由打开PPPOE功能  设置对应的PPPOE限速组  LAN口建立下面光猫拨号vlan  新建拨号账号,拨号即可 
智慧光迅
2026年3月27日 17:48
33
0 条评论
转发
收藏文档
上一篇
下一篇
手机扫码
复制链接
手机扫一扫转发分享
复制链接
分享
链接
类型
密码
更新密码
有效期
Markdown文件
Word文件
PDF文档
PDF文档(打印)