官网
官网
游客
注册
登录
泛住宿类方案锦集
酒店场景全光网与传统组网差异对比
IPTV系统解决方案
XX无人酒店管理集团IT标准
工厂宿舍WiFi计费解决方案
酒店场景光网络与传统网络组网对比
酒店全光融合通信解决方案
酒店全光融合网络解决方案(星级)
连锁酒店wifi portal认证解决方案
本文档发布于深圳智慧光迅信息技术有限公司文档系统
-
+
首页
IPTV系统解决方案
IPTV系统解决方案
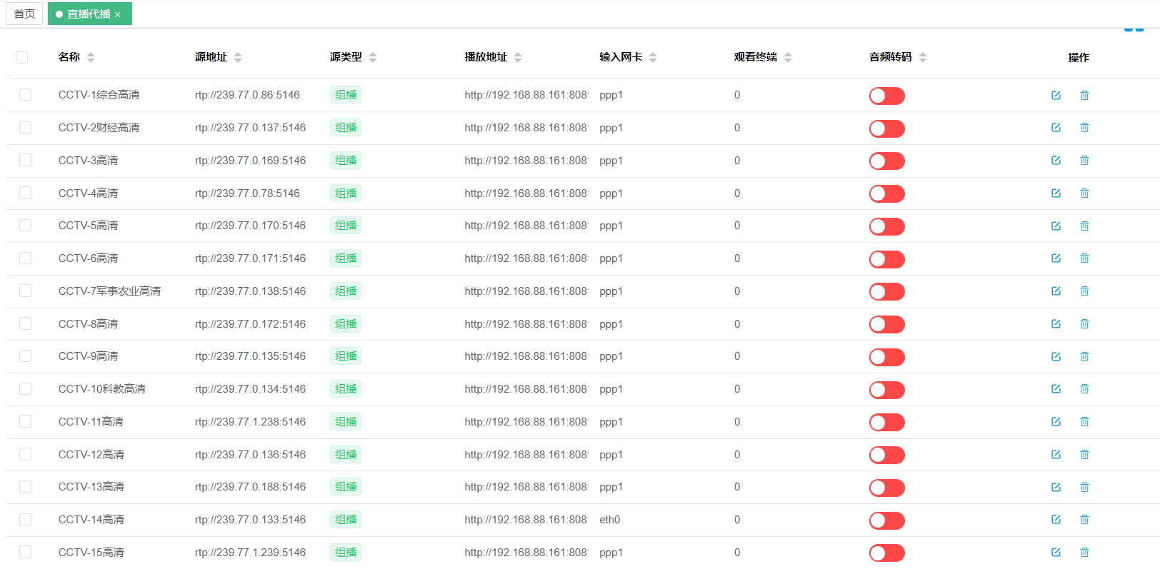
<center> **IPTV系统解决方案** **文档版本:C01V01R25P251103** **发布日期: 2025年11月3日** **发布处:深圳智慧光迅** </center> 目录 [一、系统拓扑图 4](#_Toc215154158) [二、C/S架构说明 6](#_Toc215154159) [1、Server服务端 6](#_Toc215154160) [2、Client客户端 7](#_Toc215154161) [三、IPTV服务器 8](#_Toc215154162) [1、本地服务器 8](#_Toc215154163) [2、云端服务器 8](#_Toc215154164) [四、电视桌面(智慧屏) 10](#_Toc215154165) [1、电视的启动过程 10](#_Toc215154166) [2、电视桌面的构成 11](#_Toc215154167) [3、APP版本 13](#_Toc215154168) [4、功能介绍 14](#_Toc215154169) [5、其他亮点 19](#_Toc215154170) [6、电视直播(流媒体) 21](#_Toc215154171) [五、其他知识 25](#_Toc215154172) **前言** 智慧光迅IPTV是基于行业标准的、在IP网络上传送视频及其他信息内容的平台,提供了智慧光迅IPTV流媒体服务器,内容分发网络,终端机顶盒(或安卓智能电视机)的端到端 IPTV解决方案。它允许业务提供商更快速有效的集成、实施和管理高质量的视频业务,分发到用户端给用户带来全新的业务体验。同时,智慧光迅IPTV 解决方案也为诸如付费点播业务以及订户计费模型等电子商务的集成提供了可靠的支持。 终端用户将从直观且又友好的用户界面得到极大的用户体验。用户界面提供了用户所有可用的内容和详细信息,更好的支持用户来挑选其感兴趣的内容进行观看,并且支持点播、暂停、重放以及快进等功能操作,用户可以随时随地的进行观看直播电视和点播视频内容,以及体验其他电视业务。 IPTV系统凭借自身出色的性能和深厚的技术背景,为业界所首肯和推崇。 IPTV 系统拥有多项诸如流媒体自适应技术、发送速率控制与平滑技术等国际先进的专利技术,在保证数字视频和数字电视直播、点播功能操作便捷的同时,也整合了电视台信息服务,使得房间用户 能体现到多样的高质量服务和用户体验。 # 一、系统拓扑图 根据运营商IPTV资源过来的形式,分为两种组网方式。 **方式一:广电清流** 广电清流信号源进入核心机房多业务综合网关,多业务综合网关权限开放至广电运维管理员,提供信号混合、分发以及电视UI桌面管理能力,如有境外节目时,来自境外卫星的射频信号在机房内分别接收、转换并输出IP信号,输入到多业务综合网关,通过内光分配网络传送至客房终端。同时外网路由器应该具备IPS、AV、WAF、上网日志存储等第二代防火墙功能,以确保机房安全保护等级应不低于第二级。(报装当地广电直播信号源)  **方式二:运营商IPTV专网(软终端)** 电信、联通、移动、广电等有资质的“IPTV软终端”提供商;将IPTV专网线路汇聚到核心机房的出口路由器;TV互动电视采用一体化智能电视,UI桌面由多业务综合网关或云桌面系统提供,TV互动电视桌面系统将运营商提供的“IPTV软终端”推送至桌面第一个功能模块,直播信号源由出口路由器转发至IPTV专网。   # 二、C/S架构说明 IPTV系统架构分为客户端和服务器两个部分。客户端负责发起请求并与用户进行交互,而服务器则负责接收客户端的请求、处理数据,并将结果返回给客户端。  ## 1、Server服务端 **内容存储和管理:**服务器存储大量的视频节目和其他内容,并负责内容的管理、更新和维护。 **流媒体传输:**服务器将用户请求的内容以流媒体的形式传输给客户端,支持实时和非实时的观看需求。  备:本地服务器一般部署在内网内。云端服务器分为两种:a)第三方云服务。b)商旅云屏。 ## 2、Client客户端 **发起请求:**客户端是用户与IPTV系统交互的接口,用户通过客户端发起观看节目、查询信息等请求。 **接收和展示内容:**客户端接收服务器发送的流媒体数据和其他信息,并将其展示给用户,如视频画面、音频内容以及电子节目指南(EPG)等。 **用户交互:**客户端提供用户界面,允许用户进行各种操作,如选择节目、调整音量、快进/后退等。 备:客户端只需要认证好对应的服务器即可  # 三、IPTV服务器 ## 1、本地服务器 IPTV本地服务器部署在本地局域网本地,为局域网的设备提供软硬一体的IPTV服务,本地服务器一共有以下型号,根据项目类型以及实际的终端数量进行计算,选择最合适的服务器。 | **型号** | **智慧屏授权** | **推荐场景** | | --- | --- | --- | | ZH\-ITV55/A50 | 70 | 70 | | ZH\-H100 | 无限制 | 130 | | ZH\-H200 | 无限制 | 280 | | ZH\-H500 | 无限制 | 1000 | | ZH\-HA1 | 无限制 | 2000 | 备:有一种特殊的情况,运营自建服务器,指客户使用自己的服务器进行IPTV服务的部署,一般用在运营场景下,比如园区、小区等中大型场景,在这个过程中我们只出售软件授权,一般出售给有一定运营经验的服务商。  ## 2、云端服务器 云服务器不部署在局域网本地,通过将服务器部署在数据机房,终端认证云服务器的方式,可有效的节省IPTV系统的部署成本,适用于离散式场景或者运营场景。 * **三方云服务** 免费帮助需要搭建云服务器的客户进行服务的搭建,客户需要自行购买好对应的云服务器,后续由技术团队部署云服务器,可搭建包括但不限于以下云服务。不具备电视直播功能,可搭配具备直播代播功能的路由器进行使用。  * **商旅云屏** 智慧光迅IPTV云桌面,云桌面仅提供电视桌面服务,不具备直播功能,可搭配具备直播代播功能的路由器进行使用。  # 四、电视桌面(智慧屏) IPTV 电视桌面是用户打开IPTV电视后看到的交互界面,集成功能入口、展示多种内容,还支持个性化定制,提供实用信息。 ## 1、电视的启动过程 * **接上电源,打开电视机开关**  * **显示厂商LOGO/动画**  * **电视机获取IP地址** 电视机启动到这里,才正式进入到我们的桌面  * **电视欢迎页**  * **电视桌面首页**  ## 2、电视桌面的构成 根据小区/酒店/医院等场景场景提供不同的电视桌面,可以根据需要进行选择。 其中每个场景都包含多种UI风格,可自由选择,并且进行素材的更换。  * **欢迎页** 电视机启动后,来到的第一个界面就是我们的欢迎页界面,展示背景图、logo、WiFi名称、天气、欢迎词等模块,每个模块都可自由更改素材。所有模块的位置和尺寸都是固定的,如需调整模块大小需要单独定制版本。  * **首页** 在欢迎页界面点击OK键后就会来到桌面的首页界面,展示logo、图片、天气、APP菜单等模块。所有模块的位置和尺寸都是固定的,如需调整模块大小需要单独定制版本。  ## 3、APP版本 IPTV根据不同的应用场景,云屏有一个版本,本地版有三个版本: | **部署方式** | **名称** | **版本号** | **对应功能** | | --- | --- | --- | --- | | 智慧云屏 | 智慧云屏APP(通用) | C01V05R054P250419 | 电视桌面(EAAS云端直接控制) | | | | | | | **部署方式** | **名称** | **版本号** | **对应功能** | | 本地版本 | 综合网关APP(通用) | C01V06R062P250808 | 电视桌面\+IPTV | | 综合网关APP(no\-home) | C02V06R053P241028 | IPTV | | 综合网关APP(海信) | C03V06R053P241028 | 电视桌面\+IPTV | | | | | | ## 4、功能介绍 **APP模块** * 电视直播  * 酒店介绍  * 旅游景点  * 美食推荐  * 本地特产  * 其他介绍  * 画廊  * 音乐助眠  * 高清影院  * 安视接入  * 在线购物  * **广告模块** * 开机广告 桌面APK启动时,会先播放一段广告,广告可以是图片或者视频的形式进行播放 * 首页图文广告 电视进入桌面后,部分图片模块为首页图文广告,可在此处修改图片 * 文字广告 桌面显示上方或者下方显示一段跑马灯文字,文字颜色、文字背景颜色、文字大小可按照需求调整。 * 直播广告 电视直播模块,可增加两个广告位置,一个是根据时间在左侧弹出一个水印图片,一个是在节目信息栏显示一张图片。 * **电视插播** * 视频插播 在电视桌面正常运行的时候插播一段视频,可应用在医院的喝水或者吃药的时间提示。 * 电视直播插播 在电视桌面正常运行的时候插播电视直播,可应用在政企项目上,统一时间观看电视指定内容的电视直播。 * 一次性播放任务 在电视桌面正常运行的时候插播一段视频,可设置执行周期,一般用于突发时间的内容插播。 * **语音电视** * AI语音电视 电视机自带了AI语音功能,通过APK与电视机做对接,实现语音一键换台、点播电影等功能 * 音响\+电视 电视机没有语音功能,通过部署一台语音音响,电视APK与音响做对接,实现语音一键换台、点播电影等功能 * 语音面板 电视机没有语音功能,但是客控面板具AI语音能力,,电视APK与客控做对接,实现语音一键换台、点播电影等功能 ## 5、其他亮点 * 紧急插播联动  * 客房来电自动静音  * 第三方正版点播 **** * 私密投屏  * 洗衣机状态  * 机器人送物显示  ## 6、电视直播(流媒体) **1、流媒体的不同形式** 流媒体根据不同的实现方式分为两种形式:节目采集、直播代播 * **节目采集** 节目采集是实时进行节目采集的,一直处于取流状态,对于服务器的负载会相对较高。 由于一直处于取流状态,客户端看节目时,实时播放且无卡顿。  * **直播代播** 直播代播则是根据终端需求进行取流,客户端需要看节目才进行取流。 使用直播代播有需求才取流,客户端看节目时,可能会有1秒钟左右的切换节目黑屏时间。其次,使用直播代播可以让网络资源利用率最大化,使用一条IPTV可以同时供给多个客户端使用,节省网络资源。  **2、电视直播(流媒体)基础功能** * **输入输出** 网络通信根据传输方式的不同分为单播和组播两种方式,一般情况下,在运营商的IPTV网络中,为了减少网络资源的占用,会用到组播的方式进行输出。而在一般的中小项目中,组播输出对服务器的性能要求较高,而且IPTV资源会用在局域网本地,会更加适用于单播的输出传输方式。 单播和组播的区别见下表: | **特性** | **单播(Unicast)** | **组播(Multicast)** | | --- | --- | --- | | **通信方式** | 一对一 | 一对多 | | **传输效率** | 低(每个接收者单独发送数据) | 高(发送一份数据,网络设备复制分发) | | **资源占用** | 高 | 低 | | **应用场景** | 网页浏览、文件下载、点对点通信 | 视频直播、在线会议、实时数据分发 | | **设备支持** | 所有网络设备均支持 | 需要路由器支持组播协议 | | **可靠性** | 高 | 较低(需额外协议支持) | | **延迟** | 低 | 可能较高 | IPTV服务器支持以下四种输入和输出方式:单播输入单播输出、单播输入组播输出、组播输入组播输出、组播输入单播输出。  * **回看时移** 服务器支持回看功能(H500及以上型号),可以设置回看天数,每款服务器的硬件参数不太一样,导致所能容纳的最大存储数量也不太一致。  回看的计算方式: 一个标清节目储存回看一天需要约40G、高清需要约80G(标清3 \~ 4M、高清7 \~ 8M)。 | 节目类型 | 一天回看占用容量 | 三天回看占用容量 | 七天回看占用容量 | | --- | --- | --- | --- | | 标清节目(3 \~ 4M) | 40G\*1\=40G | 40G\*3\=120G | 40G\*7\=280G | | 高清节目(7 \~ 8M) | 80G\*1\=80G | 80G\*3\=240G | 80G\*7\=560G | 各型号服务器可增配最大硬盘数量以及硬盘容量,可参考下述表格: | 服务器型号 | 可增加硬盘数量 | 硬盘容量 | | --- | --- | --- | | ZH\-A38 | 0 | 0 | | ZH\-ITV55/A50 | 0 | 0 | | ZH\-H100 | 1 | 6T | | ZH\-H200 | 1 | 6T | | ZH\-H500 | 5 | 6T | | ZH\-HA1 | 7 | 6T | # 五、其他知识 **1\.编码器是啥?** 编码器的作用是把模拟信号转化为IP信号,可以接入DHMI/CVBS/AV接口转化为RJ45的模拟接口,作为外部的信号源接入。   **2\.DTMB数字调制器是啥?** 编码器的作用是把IP信号转化为模拟信号,可以接入RJ45接口转化为CVBS/AV的接口,通过模拟接口接入终端电视。  **3\.IPTV服务器能采集多少个节目?** 根据所在地区,每个地区的IPTV都不太一样,如果单播一般没有限制,如果是组播一般是4\-8个。
智慧光迅
2026年3月27日 16:43
14
0 条评论
转发
收藏文档
上一篇
下一篇
手机扫码
复制链接
手机扫一扫转发分享
复制链接
分享
链接
类型
密码
更新密码
有效期
Markdown文件
Word文件
PDF文档
PDF文档(打印)